納米碳黑的制備及其對聚酯纖維染色的性能研究
鄭敏 李劍剛 蔡中雷 (蘇州大學材料工程學院,蘇州,215021)
【摘要】采用蠟燭燃燒法自制了粒度細小、分布均勻的納米碳黑,通過噴霧法對其實施表面改性,從而獲得了分散穩定性良好的納米碳黑水溶液分散體系,研究了納米碳黑分散體系對聚酪纖維的染色性能以及納米碳黑染色織物的抗紫外性和抗靜電性,同時探討了納米碳黑與分散染料的染色相容性。實驗結果表明:納米碳黑分散體系對經過改性劑Ep處理的聚醉纖維具有較高的上染性,而且和分散染料具有較好的染色相容性,此外納米碳黑染色織物抗紫外性和抗靜電性均有明顯提高,
【關鍵詞】納米碳黑;聚酪纖維;染色
一般來說,非水溶性顏料要對纖維著色必需采用特殊的加工工藝,如涂層整理、涂料印花等,并借助于高分子聚合物在纖維表面成膜的性能,最終將顏料黏附在纖維表面,但是由于這種在纖維表面形成了一層高聚物薄膜,嚴重影響了織物的手感和透氣性。因此尋找合適的顏料和工藝使得顏料能象通用染料一樣上染纖維一直是人們的向往和追求,特別是在環保意識日漸增強的今天更具有重要的現實意義。
納米材料由于具有多種傳統材料無法比擬的優越性,已經成為傳統產業實現性能升級的首選產品[1-2],其中納米顏料由于尺寸小、比表面大、著色力強、化學穩定性好、無毒等多種優點,為非水溶性顏料上染纖維的可行性提供了新的契機,而且納米顏料的納米效應可使得染色后的織物同時獲得多種功能,如抗紫外線、抗菌、保暖、抗靜電等[3]。目前有關納米顏料對纖維染色性能的研究報道較少,本文通過自制納米碳黑顏料并對其實施表面改性,獲得了分散性穩定的納米碳黑水分散體系,使得高溫高壓下納米碳黑直接上染聚酯纖維成為可能,并探討了其染色性能以及其它性能。
1 實驗部分
1·1 納米碳黑及其改性體的制備
采用蠟燭燃燒法制備納米碳黑,采用噴霧法對碳黑表面實施改性,主要是改善納米碳黑在水中的
l·2 納米顏料分散液的制備
將上述方法制備的納米碳黑在超聲波 (AS102OOADT,Timjin Automatic Science lnstrument Co.,Ltd)作用下分散在一定量的水中,加入適量分散劑和粘合劑,配成不同濃度的碳黑分散體系,通過靜置分層法觀察分散體系的穩定性,以一周內無分層現象作為穩定分散體系的衡量標準。
1·3 納米顏料對聚酯纖維的染色
染色前纖維表面改性:采用改性劑EP(乙二胺和鄰苯基苯酚鈉的復合物)、堿NaOH在不同條件下對纖維進行表面改性。常規高溫高壓染色:染色在紅外染色機 (臺灣瑞比)中進行,浴比1:50,染色溫度
1·4 結果表征
(1)納米碳黑的表征:用美國 4L1納米碳黑直接上染聚酷 BROOKHAVEN公司生產的9OPLUS型激光粒度分析儀分析粒子的大小和分布,采用JEM-2OOCX透射電鏡觀察粒子的大小和形貌,采用Perkin-Elmer683型紅外光譜儀分析粉體化學組成,波長范圍為4000-40Ocm-1樣品用KBr壓片法測定,分辨率為
(2)染色性能表征:采用American Hunter Lab Cor.ULTRASCAN XE型測色配色儀測染色后纖維的K/S值,D65光源,100觀察者。
(3)其它性能表征:采用靜電測試儀器(StaticHonestmeter S-5109型,外加電壓5kv)測染色織物的抗靜電性;采用褪色法測染色織物的抗紫外性。具體操作如下:以亞甲基藍染色的棉布作為基布,將納米碳黑染色后的織物和其它對比織物分別遮蓋,基布,在同樣的太陽光下照射同樣的時間,分別測
RCI=(K/S)t√(K/S)0×100[%]
其中(K/S) t——納米染色織物遮蓋后經過照射的基布的K/S值,(K/S)0——原基布的K/S值。
2 結果和討論
2·1 納米碳黑的制備及其改性
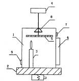
碳黑的制備可分為熱氧化分解法和熱裂解法兩大類,比較熱裂解法而言,前者產率高,質量好,條件容易控制。熱氧化分解法按照確定氣流的標準進一步細化為在擴散流中生成的碳黑和在湍流中生成的碳黑。燈法制碳黑也叫蠟燭燃燒法制碳黑它是在擴散流中生成的,火焰由焰心、內焰、外焰等幾層組成,在最外層,從周圍空氣獲得充足的氧,含碳物質幾乎全部燃燒,同時,生成的熱使蠟燭熔化或汽化形成焰心,內層在缺氧的條件下由于氧的擴散速率低于分解速率,形成的碳粒引起火焰發光,一般情況,分解得到的碳黑一達到含充足氧氣的外焰就燃燒,但如果火焰接觸到冷物體,火焰反應溫度下降,燃燒將減少到炭黑不再燃燒的程度,且沉積在冷物體的表面上,這個過程是一個開放的系統,由于來自周圍空氣的氧氣能自由進入擴散的火焰,氧氣的缺乏僅僅是局部的、暫時的。不同方法制備產品的性能有一定差異。通過對碳黑結構和性質的分析以及實際需求,本研究以石蠟為原料,設計了圖l所示的燈法制碳黑裝置。采用上述裝置可獲得粒徑在9-4Onm間的碳黑,由于采用了噴水裝置,使得吸附板的溫度能迅速均勻降低,因此得率較高,但是由于納米碳黑具有巨大的比表面積,極容易團聚,因此給納米碳黑的染色帶來極大的困難,制備分散穩定性好的納米碳黑水溶液分散體系是納米碳黑上染織物的前提和關鍵。
通過對納米碳黑的表面分析可知,碳黑主要成分是碳,含碳量 90%-99%,其次為氧,為0.1-0.9%,其余的就是氫、氮和硫等元素。這些元素主要來自于碳黑的原料,在碳黑生成過程中被帶入碳黑
|
| 1、制備室 2、可升降基座 3、蠟燭 4、電動機 5、吸 附板 6、碳黑收集槽 7、刮刀 8、噴水器 9、透氣孔 | |||||
| 圖l納米碳黑的制各裝置示意圖 | ||||||
|
| ||||||
| 圖2 納米碳黑的紅外光譜圖 | ||||||
|
|
| |||||
| 修飾前(a) (平均粒徑164.0 nm) | 修飾后(b) (平均粒徑26.0 nm) | |||||
| 圖3 修飾前后的碳黑在乙醇/水溶劑中超聲分散的粒度分布 | ||||||
|
|
| |||||
| 修飾前 (50000×) | 修飾后(100000×) | |||||
| 圖4 修飾前后的碳黑在乙醇/水溶劑中超聲分散的透射電鏡 | ||||||
本實驗采用噴霧法在納米碳黑的制備過程中對其實施表面改性,一方面通過表面活性劑的包覆作用改變納米碳黑粒子的表面電荷分布,增強納米粒子間的靜電排斥作用,另一方面通過大分子結構在納米粒子表面的吸附,產生并強化立體保護作用。 圖3和圖4所示為改性前后納米碳黑乙醇/水溶劑分散體系中粒子大小分布情況和形貌。
從圖3可以看出,修飾前粒度分布不均勻,出現多峰,峰形較寬,平均粒徑為164.0 nm,修飾后為單峰,峰形較窄,平均粒徑為26.0 nm,這說明表1納米碳黑對滌綸的染色性能表面活性劑SPES對碳黑具有較好的分散效果。圖 4的電鏡圖所得結果與粒度分析是一致的,修飾前的電鏡圖中可以看到碳黑出現嚴重的團聚現象,而修飾后分散性較好,沒有明顯的團聚體。這與表面活性劑SPES的化學結構有關,它是一類分子量較大而且結構中含有多個苯環、羥基、羥甲基等基團的陰離子化合物,易與碳黑粒子表面醌、氫醌或羰基等基團進行結合,使得碳黑表面帶一定電荷,斥力和水化能力增強,另外磺酸基團的親水性也增強了碳黑粒子間的斥力,而且吸附在碳黑表面的 SPES大分子結構同時還具有一定的位阻效應,阻礙了碳黑粒子間的聚集。
2·2 滌綸織物的表面改性及其對染
2·2·1 滌綸織物的表面改性與染色
滌綸屬于疏水性纖維,分子排列比較緊密,分散染料上染滌綸時,染料主要以分子狀態進入纖維的無定形區,一般需要在高溫高壓下染色才能獲得較快的上染速度和較高的染色深度,而對于水不溶性納米碳黑來說,單靠高溫高壓不足以使得納米粒子進入纖維內部,因此一方面必須對纖維表面進行改性以增加其與納米碳黑的親和力,另外需要選用某些對滌綸纖維有一定增塑作用的物質來加速無定形區分子鏈段的運動,產生足夠大的瞬間孔穴有利于碳黑粒子的上染。表面改性劑EP是一類兼具上述兩種功能的混合溶劑,表1所示為納米碳黑對滌綸的染色情況。
從表1可以看出,改性前后碳黑對織物的上染情況有明顯不同,總的來說,改性后可大大提高碳黑上染量和表觀得色深度,尤其是改性劑EP效果更為顯著,因為改性劑EP對滌綸同時具有表面刻蝕作用以及增塑作用,而NaOH僅具有刻蝕作用,而且對纖維強力有較大損傷,這從織物的失重可以看出。從表1還可以看出,改性劑EP處理后染色勻染性較好,這是因為改性劑EP的堿性較溫和,對纖維表面刻蝕作用也比較均勻,因而有利于碳黑均勻上染。
| 改性條件 | 染色K/S值 | 織物上碳黑含量g/g | 失重% | 勻染性△E |
| 未改性 | 2.379 | 0.02 | 0 | 0.779 |
| NaOH改性 | 5.255 | 0.07 | 12.5 | 0.379 |
| 改性劑EP改性 | 8.696 | 0.11 | 5.7 | 0.124 |
注:改性劑濃度
2·2·2 不同改性工藝對碳黑染色的影響
實驗表明,不同程度的改性對碳黑上染有一定的影響,并非改性程度越大越有利于上染,圖5所示為不同改性工藝參數對染色織物表觀顏色探度的影響。
從圖5(a)可以看出,改性溫度對碳黑上染有很大影響,溫度太高不利于碳黑上染,改性劑Ep濃度的影響隨溫度不同呈現不同趨勢,在較高溫度下,隨改性劑濃度增大K/S值呈現下降趨勢,尤其是當濃度大于
|
|
|
| (a)不同改性劑EP濃度和溫度對織物表觀深度的影響(改性時間5Omin) | (b)不同改性時間和溫度對織物表觀深度的影響(改性劑EP濃度 |
| 圖5 不同改性工藝參數對染色織物表觀顏色深度的影響 |
納米碳黑染色雖然著色力強,色光純正,但是白于碳黑色調比較單一,如果能用其它顏色的分散染料來調整色光,將更有利于碳黑染色的普及和推廣,為此本實驗探討了碳黑和分散染料的染色相容性,結果如圖6所示。
|
|
| l-0.5%碳黑,2-0.5%碳黑和3%分散黑3-3%分散黑 |
| 圖6 所示為碳黑和分散染料的染色相容性 |
從圖6可以看出,碳黑和分散染料同時上染滌綸時上染率略有下降,這說明碳黑和分散染料具有較好的染色相容性,因此可以用不同顏色的分散染料來調整色光,另外從圖6還可以看出,碳黑染色織物對可見光的吸收為廣譜吸收,無最大吸收波長,而且表觀顏色深度明顯高于分散染料染色織物,這也證實了納米碳黑的著色力強,染深性好,從而可解決滌綸染不黑的難題。
采用靜電測試儀以及色布褪色法測試了碳黑染色織物的抗靜電性以及抗紫外性,結果如表2和表3所示。
從表2可以看出,納米碳黑染色后的織物具有較好的抗靜電性,僅次于棉布的抗靜電性,大大高于分散黑染色后的織物,這與納米碳黑的表面效應以及碳黑表面的基團有關,所謂抗靜電劑一般是指能提高纖維表面親水性的物質,碳黑表面的羧基、醌基、氫醌或羰基等可以與水形成氫鍵結合,且以此為極性中心進一步與水結合并保持其連續性,納米材料巨大的比表面積更加強了這種抗靜電效果。從表3可以看出,0.5%納米碳黑染色后的織物抗紫外效果優于3%分散黑染色的織物,這是因為碳黑為廣譜吸收,對全波段的光都具有較強的吸收作用,而納米碳黑對光的吸收效果更強于普通碳黑
表2 不同織物試樣的抗靜電性
| 試樣 | 未染棉布 | 未染滌綸 | 分散黑染滌綸3% | 碳黑染滌綸0.5% |
| 摩擦電壓u(v | 800 | 3100 | 2200 | 1000 |
| 半衰期1/2(s) | 1 | >70 | 27.5 | 3.5 |
表3不同鈕物試樣的抗紫外性
| 試樣 | 未染滌綸 | 分散黑染滌綸3% | 碳黑染滌綸0.5% |
| (k/s)0 | 4.7616 | 4.7616 | 4.7616 |
| (k/s)t | 2.1781 | 3.0412 | 4.509 |
| RCl,% | 45.74 | 63.87 | 94.69 |
3結論
通過以上實驗數據及其分析可以得出如下結論:采用噴霧法改性的納米碳黑具有較好的分散穩定性。納米碳黑對經過改性劑EP處理的聚醋纖維具有較好的上染性。而且和分散染料具有較好的染色相容性,可采用不同顏色的分散染料來調整色光。納米碳黑染色后的織物抗靜電性和抗紫外性均有明顯提高。
參考文獻
[1] 張立德,納米材料研究的現狀和發展趨勢,96中國材料研討會,功能材料1-2
[2]孫剛,納米顏料顆粒的紡織品染色,專題講座,東華大學,2002年
[3] Yan-kelu, Zhang-hua, Chen-xiaoli, Sun-gang.The dyeing of polyester fabric with carbon black nano-particles. J. of Chemical Industry and Engineering(china),2002,53(ll);1-3
[4]李炳炎主編,炭黑生產與應用手冊,化學工業出版社,北京,2000年
相關信息 







推薦企業
推薦企業
推薦企業